1月12日
湖北省人事考试网发布
《湖北省2026年度省市县乡考试录用公务员公告》
年龄放宽至38周岁
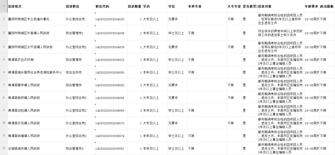
其中襄阳地区22个岗位招聘退役士兵
岗位信息如下表
↓↓↓



根据公务员法和《公务员录用规定》等法律法规,湖北省公务员局将组织实施2026年度省市县乡四级机关公开考试录用一级主任科员以下及其他相当职级层次公务员〔含参照公务员法管理机关(单位)工作人员〕工作。现将有关事项公告如下:
一、报考基本条件
(一)具有中华人民共和国国籍;
(二)年龄一般为18周岁以上、38周岁以下(1987年1月至2008年1月期间出生),应届硕士研究生和博士研究生年龄可放宽到43周岁以下(1982年1月以后出生);
(三)拥护中华人民共和国宪法,拥护中国共产党领导和社会主义制度;
(四)具有良好的政治素质和道德品行;
(五)具有正常履行职责的身体条件和心理素质;
(六)具有报考职位要求的工作能力;
(七)一般具有大专以上文化程度,享受艰苦边远地区倾斜政策的县(市、区)职位学历可放宽到高中、技工院校、中专;
(八)具备报考职位要求的其他资格条件。
二、报考程序
(一)查询职位
各招录机关的招考人数、职位资格条件等详见职位表,有关报考政策、报名网络技术等事宜详见《湖北省2026年度省市县乡考试录用公务员报考指南》,报考人员可于2026年1月12日起通过湖北省人事考试网(https://rst.hubei.gov.cn/hbrsksw/)查询。
(二)网上报名
报考人员通过湖北省人事考试网进行网上报名,按以下步骤进行:
1.提交报考申请。报名时间为1月13日9∶00至1月19日17∶00。报考人员应仔细阅读本公告、《湖北省2026年度省市县乡考试录用公务员报考指南》及《湖北省2026年度省市县乡考试录用公务员招考职位表》,登录湖北省人事考试网,填写报考信息,如实并完整注册个人基本信息,上传本人电子照片,选择合适职位提交报考申请。报考人员只可选择一个职位报名(已经报考涉密等线下招考职位的人员不得网上注册报名,如果重复报名缴费则网上报名无效,也不退还报名费),报名与考试时使用的身份证必须一致。1月13日至1月18日,省人事考试院将每天发布一次报名人数,引导考生合理选择职位。
报考人员提交的涉及报考资格的申请材料或者信息不实的,认定其报名无效,终止其录用程序;有恶意注册报名信息,扰乱报名秩序或者伪造、变造有关材料骗取考试资格等行为的,给予其取消本次报考资格并五年内限制报考公务员的处理。
2.报名资格网上初审。报考人员可于1月13日至1月20日期间登录湖北省人事考试网查询是否通过资格初审。1月13日9∶00至1月19日17∶00,报考申请已提交尚未审查的或通过资格初审的,均不能修改本人注册信息或改报其他职位。报名初审不通过的,可完善个人注册信息后重新报考原职位或改报其他职位。1月19日17∶00后,所有人员均不能再修改个人注册信息或报考职位,请考生尽早报名,以免报名截止后因资格初审不通过而错失考试机会。
资格审查贯穿录用工作全过程。在招录各环节发现报考者不符合报考资格条件的,招录机关均可取消其报考资格或者录用资格。
涉及职位公告中的专业、学历、学位、基层工作经历、其他招录资格条件以及是否具有回避情形等相关信息的咨询,考生应于工作时间内,与招录机关联系。省直机关、省监狱戒毒系统和各地公务员主管部门联系方式可在湖北省人事考试网公务员专题的相关下载“招录部门联系电话及信息发布网站一览表”查询,各市州、直管市、神农架林区招录机关联系方式在各地指定网站查询或咨询各地公务员主管部门。
(三)网上缴费确认
通过资格初审的报考人员请于1月23日9∶00至1月27日17∶00期间登录湖北省人事考试网缴费确认。享受减免考务费用政策的脱贫人口、防止返贫致贫监测对象和城乡低保人员,通过网上报名系统“政策减免费用申请”减免报名费。
(四)网上改报职位
缴费确认人数不足3人的职位,取消招录计划。招录职位取消的,考生可在规定时间内改报其他职位。因考生自身原因,无法正常联系或接到通知后逾期未改报的,视作放弃改报权,退还考试费。
(五)网上打印准考证
缴费确认成功后,报考人员应于3月9日9∶00至3月14日9∶30期间登录湖北省人事考试网自行下载打印准考证。笔试准考证保存到公示拟录用人员阶段。
报考线下职位的人员,由招录机关确认缴费并发放准考证。面向村(社区)干部考录乡镇(街道)公务员的职位,不收取报名费,由各地公务员主管部门组织报名、下载打印准考证。
三、笔试
(一)笔试科目
报考面向村(社区)干部考试录用乡镇(街道)公务员职位的,只参加综合知识测试一科考试。其他职位均须参加行政职业能力测验和申论两科考试。报考公安机关职位的人员,还需参加公安专业科目考试。笔试有关要求详见考试大纲。
(二)笔试时间
2026年3月14日上午9:00-11:00 行政职业能力测验
2026年3月14日14:00-16:30 申论
2026年3月15日上午9:00-11:00 公安专业科目
2026年3月15日上午9:00-12:00 综合知识测试
报考人员按照准考证上确定的时间和地点参加考试。根据考试报名等情况,将在各市州、直管市、神农架林区设置考点。
(三)查询成绩
笔试成绩及最低合格分数线,在笔试阅卷结束后登录湖北省人事考试网查询,相关违规违纪信息在查询分数界面一并告知。对享受艰苦边远地区倾斜政策的县(市、区)职位,在划定最低合格分数线时予以倾斜。
四、资格复审
面试和专业测试前,达到规定竞争比例的职位,组织资格复审。达不到规定竞争比例的多计划职位,按核减后的职位计划数组织资格复审。按照资格复审人员名单与职位计划数3:1的比例,依据笔试折算成绩从高到低的顺序确定。
凡放弃资格复审,或有关材料信息不实、影响资格审查结果的,由招录机关取消面试资格,并在同职位通过笔试最低合格分数线的人员中,按笔试折算成绩从高到低的顺序依次递补。
资格复审后,对达不到规定竞争比例的职位,除经省公务员主管部门审核同意开考的享受艰苦边远地区倾斜政策的县(市、区)、紧缺专业人才、基层“招人难”地区等职位外,一律取消、合并或按比例核减招录计划。
五、专业测试
部分需要进行专业测试的职位,专业测试设置情况及相关事项在湖北省人事考试网公布。
六、面试
(一)参加面试
资格复审合格人员参加面试。面试公告发布后,考生放弃面试的,取消其面试资格,不再进行递补。因考生放弃面试导致该职位达不到规定竞争比例的,该职位可正常开考。对只有1名考生参加面试的职位,考生面试成绩达到本场考试(同一考官组、同一面试题本)平均分以上的,方可列为体检、考察对象。面试最低合格分数线为60分。
(二)综合成绩折算
综合成绩采用百分制折算。
公安机关职位,综合成绩=(行政职业能力测验成绩×0.4+申论成绩×0.3+公安专业科目成绩×0.3)×0.5+面试成绩×0.5。
面向村(社区)干部考试录用乡镇(街道)公务员职位,综合成绩=综合知识测试成绩×0.5 +面试成绩×0.5。
其他职位:
不组织专业测试的,综合成绩=(行政职业能力测验成绩×0.55+申论成绩×0.45)×0.5 +面试成绩×0.5。
组织专业测试的,综合成绩=(行政职业能力测验成绩×0.55+申论成绩×0.45)×0.4+专业测试成绩×0.2+面试成绩×0.4。
七、体能测评
报考公安机关、监狱机关、强制戒毒机关人民警察职位的人员,面试结束后需参加体能测评。体能测评标准按照《公安机关录用人民警察体能测评项目和标准》(公政治〔2024〕60号)执行,体能测评三个项目中,凡其中一项不达标的,视为体能测评不合格,不合格人员不得进入体检、考察环节。每项体能测评成绩由考生当场签字确认。考生不按规定的时间、地点参加体能测评的,视作放弃体能测评资格。
八、体检和考察
体检、考察人选根据综合成绩从高到低的顺序确定。面向村(社区)干部考录乡镇(街道)公务员的职位,按照体检、考察人员与计划录用人数1.5:1的比例确定,其他职位按职位公告要求确定。
(一)组织体检
体检按照《关于进一步做好公务员考试录用体检工作的通知》(人社部发〔2012〕65号)、《关于修订〈公务员录用体检通用标准(试行)〉及〈公务员录用体检操作手册(试行)〉有关内容的通知》(人社部发〔2016〕140号)、《关于调整公务员录用体检有关项目检查标准的通知》(组厅字〔2025〕28号)等规定组织实施。报考公安机关、监狱机关、强制戒毒机关人民警察和人民法院、人民检察院司法警察等职位,还须符合《关于印发公务员录用体检特殊标准(试行)的通知》(人社部发〔2010〕82号)对身体条件的要求,《公务员录用体检特殊标准(试行)》中的所有体检项目均不进行复检。考生不按规定的时间、地点参加体检的,视作放弃体检资格。
(二)组织考察
考察前,考生提交个人自传(1500字左右),考察组结合个人自传,通过实地走访、个别谈话、审核人事档案、查询社会信用记录、同考察对象面谈等方法,全面了解考察对象的政治素质、道德品行、能力素质、心理素质、学习和工作表现、遵纪守法、廉洁自律、职位匹配度以及是否需要回避等方面的情况,并对报名资格进行复查,核实考察对象是否符合报考资格条件,提供的报考信息和相关材料是否真实、准确、完整。考察情况作为择优确定拟录用人员的主要依据。
体检、考察可同步组织实施,因体检、考察不合格等原因出现缺额,由招录机关根据需要确定是否递补。需要递补的,由招录机关报公务员主管部门同意后,可在报考同职位人员中按综合成绩从高分到低分的顺序依次递补体检、考察人选。
九、研究确定拟录用人员、公示和录用审批
招录机关党组(党委)按照规定的程序和标准,根据考试成绩、体检结果和考察情况,择优确定拟录用人员。
认真落实好干部标准,坚持德才兼备、以德为先,坚持把政治标准放在首位,对政治上不合格的,坚决“一票否决”。以下人员不得确定为拟录用人员:有公务员法第二十六条所列情形的;有公务员法第五十九条所列行为的;不具备报考资格条件或者不符合招考职位有关要求的;因犯罪被单处罚金,或者犯罪情节轻微,人民检察院依法作出不起诉决定或者人民法院依法免予刑事处罚的;受到诫勉、组织处理或者党纪政务处分等影响期未满或者期满影响使用的;被开除中国共产主义青年团团籍的;被机关或者参照公务员法管理的机关(单位)辞退未满5年的;高等教育期间受到开除学籍处分的;在法律规定的国家考试中被认定有严重舞弊行为的;参加公务员、选调生考试已公示拟录用后无正当理由拒不报到、试用期内无正当理由主动放弃录用资格、违反国家规定最低服务年限、新录用公务员或参照公务员法管理机关(单位)工作人员取消录用资格等情形未满5年的(截至2026年1月);政治素质、道德品行、社会责任感、为民服务意识和社会信用情况较差,以及其他不宜录用为公务员情形的。
拟录用人员在湖北省人事考试网或各地公务员主管部门指定的网站公示,公示期为5个工作日。公示内容包括招录机关名称、拟录用职位、拟录用人员姓名、性别、准考证号、所在工作单位或毕业院校等信息,同时公布监督电话,接受社会和考生监督。
公示期满后,对没有问题或者反映的问题不影响录用的,办理录用审批手续;对反映有影响录用的问题并查实的,不予录用;对反映的问题一时难以查实的,暂缓录用,待查清后再决定是否录用。
公示后因拟录用人员放弃录用资格等原因造成职位空缺的,不再组织递补。录用审批后放弃录用资格的,由招录机关报公务员主管部门取消其录用资格。
根据公务员法、《新录用公务员任职定级规定》,新录用公务员在机关最低服务年限为5年(含试用期),未满最低服务年限的不得辞去公职。
十、信息发布
报考省直机关、省监狱戒毒系统和法官助理、检察官助理职位的人员可登录湖北省人事考试网查询资格复审、专业测试、面试、体检、考察、拟录用公示等信息。各市州、直管市、神农架林区职位的资格复审、面试、体检、考察、拟录用公示等信息可登录各地公务员主管部门指定的网站查询。
特别提醒:
1.考生在考试特别是资格审查、面试和递补期间保持通讯畅通,通讯方式变更后,应主动告知招录机关,避免错失录用机会。
2.考生在网上报名时应仔细核对报考的职位、个人姓名、身份证号、照片、考试科目、资格审查结果等重要信息,避免错失考试机会。
3.准考证是参加笔试、资格复审、面试、体能测评、体检等环节需要出示的凭据,请考生妥善保管或打印多份留存。参加考试时,必须同时携带准考证和处于有效期内的二代身份证,证件不齐者,不得参加考试。
4.在招录过程中如出现部分空缺职位,省公务员局将视情况确定是否组织第二次考录。如进行第二次考录,考录公告、职位及相关事宜将在湖北省人事考试网发布。
湖北省公务员局
2026年1月12日